G型單螺桿泵介紹:
	G型單螺桿泵的單螺桿泵在發達的國家已廣泛使用,由于其優良的性能,近年來在國內的應用范圍也在迅速擴大。它的最大特點是對介質的適應性強、流量平穩、壓力脈動小、自吸能力高,這是其它任何泵種所不能替代的。對自已的產進行不斷的改革創新。目前我單位的產品已自成一體系,壓力為0.4∽1.2MPa,可滿足廣大用戶對單螺桿泵的不同需求。我單位生產的G型單螺桿泵,質量可靠,實行三包,價格也相對較低,同時確保備件的正常供應。本單位熱忱為廣大用戶服務,接受用戶對特殊要求單螺桿泵的設計和制造任務。
	 
	G型單螺桿泵型號意義:
	 
	
	使用范圍:
	    G型單螺桿泵由于該二部件的特殊幾何形狀,分別形成單獨的密封容腔,介質由軸向均勻推行流動,內部流速低,容積保持不變,壓力穩定,因而不會產生渦流和攪動。每級泵的輸出壓力為0.6MPa,揚程60m(清水),自吸高度一般在6m以上。
	  因定子選用多種彈性材料制成,所以這種泵對高粘度流體的輸送和含有硬質懸浮顆粒介質或含有纖維介質的輸送,有一般泵種所不能勝任的特性。其流量與轉速成正比。
	  單螺桿泵結構緊湊,體積小,維修簡便。對介質的適應性強,流量平穩,壓力脈動小,自吸能力高。工作溫度可達120℃,如果需輸送120℃-350℃高溫介質,可定做。廣泛用于食品、冶金、造紙、印染、化工、化肥、制藥等工業部門。
	應用范圍:
	   螺桿泵作為一種能用泵,流量可以根據要求,通過改變速度進行調節,運行速度可高可低,出口壓力可隨泵的級數增加而增加,每增加一級,壓力增加0.6MPa,在以下范圍和行業廣泛應用。
	1:環境保護:工業污水、生活污水、含有固體顆粒及短纖維的污泥濁水的輸送,特別適用于油水分離器、板框壓濾機等設備;
	2:船舶工業:輪底清潔、油水、油渣、油污水等介質的輸送;
	3:石油工業:輸送源油、原油與水的混合物、煤田氣和水的混合物、往地層內灌注聚合物等等,從而降低了機械采油、采煤田氣的成本,增加了油口采收率;
	4:醫藥、日化、各種粘稠漿、乳化液、各種軟膏化狀品的輸送;
	5:食品罐頭工業:各種粘稠淀粉、食油、蜂蜜、糖漿、果漿、奶油、魚靡肉糜以及其下腳料的輸送;
	6:釀造工業:各種發酵粘稠漿液、濃酒漕、糧食制品渣、各種醬類、漿類和含有塊狀固態物的粘液等;
	7:建筑工業:水泥砂漿、石灰漿、涂料及其它糊狀體的噴涂與輸送;
	8:采礦工業:礦井內的含有固體顆粒的地下水和污漿水排送到地面;
	9:化學工業:各種懸浮液、油脂、各種膠體漿、各種粘合劑;
	10:印刷、造紙工業、高粘度油墨、高分子塑料和各種濃度的紙漿、短纖維漿的輸送。
	11:工業鍋爐、電廠:水煤漿的輸送。
	
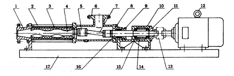
	1 出料腔 2 拉桿 3 螺桿膠套 4 螺桿軸 5 萬向節總成 6 吸入口體
	7 連節軸 8 填料器 9 填料壓蓋 10 軸承座 11 軸承蓋 12 電機
	13 連軸器 14 軸套 15 軸承 16 傳動主軸 17 底座
	
	 
	 
	產品特點
	單螺桿泵是按迥轉嚙合容積式原理工作的新型泵種,傳動可采用聯軸器直接傳動,或采用低速電機三角帶傳到,變速箱,無級變速器等裝置變速。流量0.8-150m3/h,壓力0.4-1.2MPa。
	 
	產品用途
	環境保護‘工業污水、生活污水、含有固體顆粒及短纖維的污泥濁水的輸送,特別使用于油水分離器
	板框壓濾機設備等。
	船舶工業:輪底清洗、油水、油渣、油污水等戒指輸送。
	石油工業:輸送原油、原油與水的混合物、煤田氣和水的混合物、往地層內灌注聚合物等。
	醫藥、日化:各種粘稠漿、乳化液、各種軟膏化裝品
	食品罐頭行業:各種粘稠淀粉、濃酒糟、糧食制品渣、各種醬類、漿類、固體物漿液
	建筑行業:水泥沙漿、石灰漿、涂料、糊狀體的噴涂
	采礦行業:礦井內的固體顆粒、地下水、污漿水
	化學行業:各種懸浮液、油脂、各種膠體漿、各種粘合劑
	印刷、造紙:高粘度油墨、墻紙的PVC高分子塑料糊和各種濃度的紙漿,短纖維漿料
	工業鍋爐、電廠:水煤漿輸送
	 固定轉速時的性能參數
	
		
			| 
				型號 | 
			
				流量 
				(m3/h) | 
			
				壓力 
				(Mpa) | 
			
				允許最 
				高轉數 
				(r/min) | 
			
				電機 
				功率 
				(kw) | 
			
				必需汽 
				蝕余量 
				(m) | 
			
				 
					進口法 
					蘭通徑 
					(mm) 
			 | 
			
				出口法 
				蘭通徑 
				(mm) | 
			
				允許顆 
				粒直徑 
				(mm) | 
			
				允許纖 
				維長度 
				(mm) | 
		
		
			| 
				G20-1 | 
			
				0.8 | 
			
				0.6 | 
			
				960 | 
			
				0.75 | 
			
				4 | 
			
				25 | 
			
				25 | 
			
				1.5 | 
			
				25 | 
		
		
			| 
				G20-2 | 
			
				1.2 | 
			
				1.5 | 
		
		
			| 
				G25-1 | 
			
				2 | 
			
				0.6 | 
			
				960 | 
			
				1.5 | 
			
				40 | 
			
				32 | 
			
				2 | 
			
				30 | 
		
		
			| 
				G25-2 | 
			
				1.2 | 
			
				2.2 | 
		
		
			| 
				G30-1 | 
			
				5 | 
			
				0.6 | 
			
				960 | 
			
				2.2 | 
			
				50 | 
			
				40 | 
			
				2.5 | 
			
				35 | 
		
		
			| 
				G30-2 | 
			
				1.2 | 
			
				3 | 
		
		
			| 
				G35-1 | 
			
				8 | 
			
				0.6 | 
			
				960 | 
			
				3 | 
			
				65 | 
			
				50 | 
			
				3 | 
			
				40 | 
		
		
			| 
				G35-2 | 
			
				1.2 | 
			
				4 | 
		
		
			| 
				G40-1 | 
			
				12 | 
			
				0.6 | 
			
				960 | 
			
				4 | 
			
				80 | 
			
				65 | 
			
				3.8 | 
			
				45 | 
		
		
			| 
				G40-2 | 
			
				1.2 | 
			
				5.5 | 
		
		
			| 
				G50-1 | 
			
				14 | 
			
				0.6 | 
			
				720 | 
			
				5.5 | 
			
				4.5 | 
			
				100 | 
			
				80 | 
			
				5 | 
			
				50 | 
		
		
			| 
				G50-2 | 
			
				1.2 | 
			
				7.5 | 
		
		
			| 
				G60-1 | 
			
				22 | 
			
				0.6 | 
			
				720 | 
			
				11 | 
			
				5 | 
			
				125 | 
			
				100 | 
			
				6 | 
			
				60 | 
		
		
			| 
				G60-2 | 
			
				1.2 | 
			
				15 | 
		
		
			| 
				G70-1 | 
			
				38 | 
			
				0.6 | 
			
				720 | 
			
				11 | 
			
				150 | 
			
				125 | 
			
				8 | 
			
				70 | 
		
		
			| 
				G70-2 | 
			
				1.2 | 
			
				18.5 | 
		
		
			| 
				G85-1 | 
			
				56 | 
			
				0.6 | 
			
				630 | 
			
				15 | 
			
				150 | 
			
				150 | 
			
				10 | 
			
				80 | 
		
		
			| 
				G85-2 | 
			
				1.2 | 
			
				30 | 
		
		
			| 
				G105-1 | 
			
				100 | 
			
				0.6 | 
			
				500 | 
			
				30 | 
			
				200 | 
			
				200 | 
			
				15 | 
			
				110 | 
		
		
			| 
				G105-2 | 
			
				1.2 | 
			
				55 | 
		
		
			| 
				G135-1 | 
			
				150 | 
			
				0.6 | 
			
				400 | 
			
				45 | 
			
				250 | 
			
				250 | 
			
				20 | 
			
				150 | 
		
		
			| 
				G135-2 | 
			
				1.2 | 
			
				90 | 
		
	
	
	單級,由齒輪變速、電磁調速電機加齒輪變速或無級變速電機加齒輪變速時的性能參數
	
		
		
		
			| 
				型號 | 
			
				壓力0.3Mpa | 
			
				壓力0.6Mpa | 
			
				可調轉數 | 
		
		
			
				轉數 
				(r/min) | 
			
				流量 
				(m3/h) | 
			
				電動機 
				功率 
				(kw) | 
			
				轉數 
				(r/min) | 
			
				流量 
				(m3/h) | 
			
				電動機 
				功率 
				(kw) | 
			
				轉數 
				(r/min) | 
			
				流量 
				(m3/h) | 
			
				電動機 
				功率 
				(kw) | 
		
		
			| 
				G20-1 | 
			
				960 | 
			
				0.96 | 
			
				0.75-6級 | 
			
				960 | 
			
				0.8 | 
			
				0.75-6級 | 
			
				125~1250 | 
			
				0.1~1.5 | 
			
				1.1 | 
		
		
			| 
				720 | 
			
				0.8 | 
			
				0.55-8級 | 
			
				720 | 
			
				0.5 | 
			
				0.75-8級 | 
		
		
			| 
				510 | 
			
				0.4 | 
			
				0.55-4級/齒輪箱 | 
			
				510 | 
			
				0.3 | 
			
				0.75-4級/齒輪箱 | 
		
		
			| 
				G25-1 | 
			
				960 | 
			
				2.4 | 
			
				0.75-6級 | 
			
				960 | 
			
				2 | 
			
				1.5-6級 | 
			
				125~1250 | 
			
				0.1~3 | 
			
				1.5 | 
		
		
			| 
				720 | 
			
				1.5 | 
			
				0.55-8級 | 
			
				720 | 
			
				1.27 | 
			
				1.1-8級 | 
		
		
			| 
				510 | 
			
				1.08 | 
			
				0.55-4級/齒輪箱 | 
			
				510 | 
			
				0.9 | 
			
				1.1-4級/齒輪箱 | 
		
		
			| 
				G30-1 | 
			
				960 | 
			
				3.6 | 
			
				1.5-6級 | 
			
				960 | 
			
				3 | 
			
				2.2-6級 | 
			
				125~1250 | 
			
				0.2~4 | 
			
				2.2 | 
		
		
			| 
				720 | 
			
				2.28 | 
			
				1.1-8級 | 
			
				720 | 
			
				1.9 | 
			
				1.5-8級 | 
		
		
			| 
				510 | 
			
				1.63 | 
			
				1.1-4級/齒輪箱 | 
			
				510 | 
			
				1.35 | 
			
				1.5-4級/齒輪箱 | 
		
		
			| 
				G35-1 | 
			
				720 | 
			
				4.8 | 
			
				2.2-8級 | 
			
				720 | 
			
				4.04 | 
			
				3-8級 | 
			
				125~890 | 
			
				0.3~5 | 
			
				3 | 
		
		
			| 
				510 | 
			
				3.36 | 
			
				1.5-4級/齒輪箱 | 
			
				510 | 
			
				2.8 | 
			
				2.2-4級/齒輪箱 | 
		
		
			| 
				380 | 
			
				1.92 | 
			
				1.1-4級/齒輪箱 | 
			
				380 | 
			
				1.60 | 
			
				1.5-4級/齒輪箱 | 
		
		
			| 
				G40-1 | 
			
				510 | 
			
				6.8 | 
			
				2.2-4級/齒輪箱 | 
			
				510 | 
			
				5.6 | 
			
				3-4級/齒輪箱 | 
			
				125~890 | 
			
				0.3~10 | 
			
				4 | 
		
		
			| 
				380 | 
			
				5.1 | 
			
				1.5-4級/齒輪箱 | 
			
				380 | 
			
				4 | 
			
				2.2-4級/齒輪箱 | 
		
		
			| 
				252 | 
			
				2.65 | 
			
				1.1-6級/齒輪箱 | 
			
				252 | 
			
				2.2 | 
			
				1.5-6級/齒輪箱 | 
		
		
			| 
				G50-1 | 
			
				510 | 
			
				13.8 | 
			
				4-4級/齒輪箱 | 
			
				510 | 
			
				11.5 | 
			
				5.5-4級/齒輪箱 | 
			
				80~750 | 
			
				1~18 | 
			
				5.5 | 
		
		
			| 
				380 | 
			
				10.2 | 
			
				4-4級/齒輪箱 | 
			
				380 | 
			
				7.5 | 
			
				5.5-4級/齒輪箱 | 
		
		
			| 
				252 | 
			
				5.6 | 
			
				3-6級/齒輪箱 | 
			
				252 | 
			
				4.4 | 
			
				5.5-6級/齒輪箱 | 
		
		
			| 
				G60-1 | 
			
				510 | 
			
				20.8 | 
			
				7.5-4級/齒輪箱 | 
			
				510 | 
			
				16 | 
			
				11-4級/齒輪箱 | 
			
				63~630 | 
			
				1~20 | 
			
				11 | 
		
		
			| 
				380 | 
			
				15.6 | 
			
				7.5-4級/齒輪箱 | 
			
				380 | 
			
				12 | 
			
				11-4級/齒輪箱 | 
		
		
			| 
				252 | 
			
				7.8 | 
			
				5.5-6級/齒輪箱 | 
			
				252 | 
			
				6 | 
			
				7.5-6級/齒輪箱 | 
		
		
			| 
				G70-1 | 
			
				510 | 
			
				26 | 
			
				11-4級/齒輪箱 | 
			
				510 | 
			
				20 | 
			
				11-4級/齒輪箱 | 
			
				56~560 | 
			
				1~22 | 
			
				11 | 
		
		
			| 
				380 | 
			
				17 | 
			
				7.5-4級/齒輪箱 | 
			
				380 | 
			
				13 | 
			
				11-4級/齒輪箱 | 
		
		
			| 
				252 | 
			
				9.1 | 
			
				7.5-6級/齒輪箱 | 
			
				252 | 
			
				7 | 
			
				7.5-6級/齒輪箱 | 
		
		
			| 
				G85-1 | 
			
				380 | 
			
				32 | 
			
				11-4級/齒輪箱 | 
			
				380 | 
			
				25 | 
			
				15-4級/齒輪箱 | 
			
				37~370 | 
			
				2~24 | 
			
				15 | 
		
		
			| 
				252 | 
			
				21 | 
			
				7.5-6級/齒輪箱 | 
			
				252 | 
			
				16 | 
			
				11-6級/齒輪箱 | 
		
		
			| 
				189 | 
			
				11 | 
			
				5.5-8級/齒輪箱 | 
			
				189 | 
			
				8 | 
			
				11-8級/齒輪箱 | 
		
		
			| 
				G105-1 | 
			
				380 | 
			
				80 | 
			
				15-4級/齒輪箱 | 
			
				380 | 
			
				65 | 
			
				22-4級/齒輪箱 | 
			
				29~290 | 
			
				3~50 | 
			
				22 | 
		
		
			| 
				252 | 
			
				44 | 
			
				15-6級/齒輪箱 | 
			
				252 | 
			
				34 | 
			
				22-6級/齒輪箱 | 
		
		
			| 
				189 | 
			
				29 | 
			
				11-8級/齒輪箱 | 
			
				189 | 
			
				22 | 
			
				15-8級/齒輪箱 | 
		
		
			| 
				G135-1 | 
			
				380 | 
			
				132 | 
			
				37-4級/齒輪箱 | 
			
				380 | 
			
				120 | 
			
				45-4級/齒輪箱 | 
			
				18~180 | 
			
				3~56 | 
			
				45 | 
		
		
			| 
				252 | 
			
				95 | 
			
				30-6級/齒輪箱 | 
			
				252 | 
			
				80 | 
			
				37-6級/齒輪箱 | 
		
		
			| 
				189 | 
			
				65 | 
			
				18.5-6級/齒輪箱 | 
			
				189 | 
			
				53 | 
			
				30-8級/齒輪箱 | 
		
	
	
	雙級,由齒輪變速、電磁調速電機加齒輪變速或無級變速電機加齒輪變速時的性能參數
	
		
		
		
			| 
				型號 | 
			
				壓力0.8Mpa | 
			
				壓力1.2Mpa | 
			
				可調轉數 | 
		
		
			
				轉數 
				(r/min) | 
			
				流量 
				(m3/h) | 
			
				電動機 
				功率 
				(kw) | 
			
				轉數 
				(r/min) | 
			
				流量 
				(m3/h) | 
			
				電動機 
				功率 
				(kw) | 
			
				轉數 
				(r/min) | 
			
				流量 
				(m3/h) | 
			
				電動機 
				功率 
				(kw) | 
		
		
			| 
				G20-2 | 
			
				960 | 
			
				0.96 | 
			
				1.5-6級 | 
			
				960 | 
			
				0.8 | 
			
				1.5-6級 | 
			
				125~1250 | 
			
				0.1~1.5 | 
			
				1.5 | 
		
		
			| 
				720 | 
			
				0.8 | 
			
				1.1-8級 | 
			
				720 | 
			
				0.5 | 
			
				1.5-8級 | 
		
		
			| 
				510 | 
			
				0.4 | 
			
				1.1-4級/齒輪箱 | 
			
				510 | 
			
				0.3 | 
			
				1.1-4級/齒輪箱 | 
		
		
			| 
				G25-2 | 
			
				960 | 
			
				2.4 | 
			
				1.5-6級 | 
			
				960 | 
			
				2 | 
			
				2.2-6級 | 
			
				125~1250 | 
			
				0.1~3 | 
			
				2.2 | 
		
		
			| 
				720 | 
			
				1.5 | 
			
				1.1-8級 | 
			
				720 | 
			
				1.27 | 
			
				1.5-8級 | 
		
		
			| 
				510 | 
			
				1.08 | 
			
				1.1-4級/齒輪箱 | 
			
				510 | 
			
				0.9 | 
			
				1.5-4級/齒輪箱 | 
		
		
			| 
				G30-2 | 
			
				960 | 
			
				3.6 | 
			
				3-6級 | 
			
				960 | 
			
				3 | 
			
				3-6級 | 
			
				125~1250 | 
			
				0.2~4 | 
			
				3 | 
		
		
			| 
				720 | 
			
				2.28 | 
			
				1.5-8級 | 
			
				720 | 
			
				1.9 | 
			
				2.2-8級 | 
		
		
			| 
				510 | 
			
				1.63 | 
			
				1.5-4級/齒輪箱 | 
			
				510 | 
			
				1.35 | 
			
				2.2-4級/齒輪箱 | 
		
		
			| 
				G35-2 | 
			
				720 | 
			
				4.8 | 
			
				3-8級 | 
			
				720 | 
			
				4.04 | 
			
				4-8級 | 
			
				125~890 | 
			
				0.3~5 | 
			
				4 | 
		
		
			| 
				510 | 
			
				3.36 | 
			
				2.2-4級/齒輪箱 | 
			
				510 | 
			
				2.8 | 
			
				3-4級/齒輪箱 | 
		
		
			| 
				380 | 
			
				1.92 | 
			
				1.5-4級/齒輪箱 | 
			
				380 | 
			
				1.60 | 
			
				2.2-4級/齒輪箱 | 
		
		
			| 
				G40-2 | 
			
				510 | 
			
				6.8 | 
			
				4-4級/齒輪箱 | 
			
				510 | 
			
				5.6 | 
			
				5.5-4級/齒輪箱 | 
			
				125~890 | 
			
				0.3~10 | 
			
				5.5 | 
		
		
			| 
				380 | 
			
				5.1 | 
			
				3-4級/齒輪箱 | 
			
				380 | 
			
				4 | 
			
				4-4級/齒輪箱 | 
		
		
			| 
				252 | 
			
				2.65 | 
			
				2.2-6級/齒輪箱 | 
			
				252 | 
			
				2.2 | 
			
				3-6級/齒輪箱 | 
		
		
			| 
				G50-2 | 
			
				510 | 
			
				13.8 | 
			
				5.5-4級/齒輪箱 | 
			
				510 | 
			
				11.5 | 
			
				7.5-4級/齒輪箱 | 
			
				80~750 | 
			
				1~18 | 
			
				7.5 | 
		
		
			| 
				380 | 
			
				10.2 | 
			
				4-4級/齒輪箱 | 
			
				380 | 
			
				7.5 | 
			
				5.5-4級/齒輪箱 | 
		
		
			| 
				252 | 
			
				5.6 | 
			
				3-6級/齒輪箱 | 
			
				252 | 
			
				4.4 | 
			
				5.5-6級/齒輪箱 | 
		
		
			| 
				G60-2 | 
			
				510 | 
			
				20.8 | 
			
				15-4級/齒輪箱 | 
			
				510 | 
			
				16 | 
			
				15-4級/齒輪箱 | 
			
				63~630 | 
			
				1~20 | 
			
				15 | 
		
		
			| 
				380 | 
			
				15.6 | 
			
				11-4級/齒輪箱 | 
			
				380 | 
			
				12 | 
			
				15-4級/齒輪箱 | 
		
		
			| 
				252 | 
			
				7.8 | 
			
				7.5-6級/齒輪箱 | 
			
				252 | 
			
				6 | 
			
				11-6級/齒輪箱 | 
		
		
			| 
				G70-2 | 
			
				510 | 
			
				26 | 
			
				15-4級/齒輪箱 | 
			
				510 | 
			
				20 | 
			
				18.5-4級/齒輪箱 | 
			
				56~560 | 
			
				1~22 | 
			
				18.5 | 
		
		
			| 
				380 | 
			
				17 | 
			
				11-4級/齒輪箱 | 
			
				380 | 
			
				13 | 
			
				15-4級/齒輪箱 | 
		
		
			| 
				252 | 
			
				9.1 | 
			
				11-6級/齒輪箱 | 
			
				252 | 
			
				7 | 
			
				11-6級/齒輪箱 | 
		
		
			| 
				G85-2 | 
			
				380 | 
			
				32 | 
			
				18.5-4級/齒輪箱 | 
			
				380 | 
			
				25 | 
			
				22-4級/齒輪箱 | 
			
				37~370 | 
			
				2~24 | 
			
				22 | 
		
		
			| 
				252 | 
			
				21 | 
			
				15-6級/齒輪箱 | 
			
				252 | 
			
				16 | 
			
				18.5-6級/齒輪箱 | 
		
		
			| 
				189 | 
			
				11 | 
			
				15-8級/齒輪箱 | 
			
				189 | 
			
				8 | 
			
				15-8級/齒輪箱 | 
		
		
			| 
				G105-2 | 
			
				380 | 
			
				80 | 
			
				30-4級/齒輪箱 | 
			
				380 | 
			
				65 | 
			
				37-4級/齒輪箱 | 
			
				29~290 | 
			
				3~50 | 
			
				37 | 
		
		
			| 
				252 | 
			
				44 | 
			
				30-6級/齒輪箱 | 
			
				252 | 
			
				34 | 
			
				30-6級/齒輪箱 | 
		
		
			| 
				189 | 
			
				29 | 
			
				22-8級/齒輪箱 | 
			
				189 | 
			
				22 | 
			
				22-8級/齒輪箱 | 
		
		
			| 
				G135-2 | 
			
				380 | 
			
				132 | 
			
				55-4級/齒輪箱 | 
			
				380 | 
			
				120 | 
			
				75-4級/齒輪箱 | 
			
				18~180 | 
			
				3~56 | 
			
				75 | 
		
		
			| 
				252 | 
			
				95 | 
			
				55-6級/齒輪箱 | 
			
				252 | 
			
				80 | 
			
				75-6級/齒輪箱 | 
		
		
			| 
				189 | 
			
				65 | 
			
				37-8級/齒輪箱 | 
			
				189 | 
			
				53 | 
			
				45-8級/齒輪箱 | 
		
	
	
	單、雙級水煤漿工作泵的性能參數
	
		
		
		
			| 
				泵 型 | 
			
				流量 
				(m3/h) | 
			
				工作壓力 
				(Mpa) | 
			
				轉數 
				(r/min) | 
			
				齒輪減速配套調速電機 
				(kw) | 
		
		
			| 
				G30-2 | 
			
				 ~1 | 
			
				1.2 | 
			
				30~300 | 
			
				YCT160/4A-2.2 | 
		
		
			| 
				G35-2 | 
			
				 ~2 | 
			
				1.2 | 
			
				30~300 | 
			
				YCT160/4A-2.2 | 
		
		
			| 
				G40-2 | 
			
				 ~3 | 
			
				1.2 | 
			
				30~280 | 
			
				YCT160/4A-3 | 
		
		
			| 
				G50-1 | 
			
				 ~4.5 | 
			
				0.6 | 
			
				28~280 | 
			
				YCT180/4A-4 | 
		
		
			| 
				G50-2 | 
			
				 ~4.5 | 
			
				1.2 | 
			
				28~280 | 
			
				YCT200/4A-5.5 | 
		
		
			| 
				G60-1 | 
			
				 ~6.5 | 
			
				0.6 | 
			
				25~250 | 
			
				YCT200/4A-5.5 | 
		
		
			| 
				G60-2 | 
			
				 ~6.5 | 
			
				1.2 | 
			
				25~250 | 
			
				YCT200/4B-7.5 | 
		
		
			| 
				G70-1 | 
			
				 ~8 | 
			
				0.6 | 
			
				25~250 | 
			
				YCT200/4B-7.5 | 
		
		
			| 
				G85-1 | 
			
				 ~12.5 | 
			
				0.6 | 
			
				18~180 | 
			
				YCT225/4A-11 | 
		
		
			| 
				G105-1 | 
			
				 ~20 | 
			
				0.6 | 
			
				14~140 | 
			
				YCT225/4B-15 | 
		
		
			| 
				G135-1 | 
			
				 ~35 | 
			
				0.6 | 
			
				10~100 | 
			
				YCT250/4B-22 | 
		
	
	說明:
	1、以上性能參數是常溫清水試驗時的試驗數據;
	2、對于不同的介質、不同的轉速,性能參數都將變化,其流量值與濃度、粘度成反比,與轉速成正比;
	3、用戶必須根據使用要求、輸送介質的狀況、選型原則選擇泵的類型,或者和本公司技術部門協商來決定泵的類型。
	4、對于水煤漿泵傳動形式為齒輪調速配套電磁調速電機或機械無級變速電機,流量隨轉速變化無級可調。故障分析與排除方法:
	
		
			
				| 
					 
						故障 
				 | 
				
					 
						原因 
				 | 
				
					 
						排除方法 
				 | 
			
			
				| 
					 
						1、泵不能起動 
				 | 
				
					 
						a、新泵轉、定子配合過緊 
						b、電壓、電流太低 
						c、介質粘度過高 
				 | 
				
					 
						a、用工具人力幫助轉動幾圈 
						b、檢查、調整 
						c、稀釋料液 
				 | 
			
			
				| 
					 
						2、泵不出液 
				 | 
				
					 
						a、旋轉方向不對 
						b、吸入管路有問題 
						c、介質粘度過高 
						d、轉、定子損壞或傳動部件損壞 
						e、泵內導物堵塞 
				 | 
				
					 
						a、調整方向 
						b、檢查泄漏,打開進出口閥門 
						c、稀釋料液 
						d、檢查更換 
						c、排除更換 
				 | 
			
			
				| 
					 
						3、流量達不到 
				 | 
				
					 
						a、管路泄漏 
						b、閥門未全部打開或局部堵塞 
						c、轉速太低 
						d、轉、定子磨損 
				 | 
				
					 
						a、檢查修理管路 
						b、打開全部閥門、排除堵塞物 
						c、調整轉速 
						d、更換損壞另件 
				 | 
			
			
				| 
					 
						4、壓力達不到 
				 | 
				
					 
						a、轉子、定子磨損 
				 | 
				
					 
						a、更換轉、定子 
				 | 
			
			
				| 
					 
						5、電機過熱 
				 | 
				
					 
						a、電機故障 
						b、出口壓力過高,電機超載 
						c、定子燒壞或粘在轉子上 
				 | 
				
					 
						a、檢查電機、電壓、電流、電頻 
						b、檢查揚程,開足出口閥門,排除阻塞 
						c、更換損壞件 
				 | 
			
			
				| 
					 
						6、流量壓力急劇下降 
				 | 
				
					 
						a、管道突然堵塞或泄漏 
						b、定子磨損惡劣 
						c、液體粘度突然改變 
						d、電壓突然下降 
				 | 
				
					 
						參照以下幾項,逐項排除 
				 | 
			
			
				| 
					 
						7、軸密封處大量泄漏液體 
				 | 
				
					 
						a、軟填料磨損 
						b、機械密封損壞 
				 | 
				
					 
						a、壓緊或更換填料 
						b、修復或更換 
				 | 
			
		
	
	
	
		請提供以下詳細數據:①G型螺桿泵產品名稱與型號②G型螺桿泵流量③G型螺桿泵揚程(m)④G型螺桿泵口徑⑤G型螺桿泵電機功率(KW)⑥G型螺桿泵轉速(r/min)⑦G型螺桿泵電壓〔V〕⑧G型螺桿泵吸程(m)⑨G型螺桿泵是否帶附件以便我們的為您正確選型。 
	
		感謝訪問泉達,我公司主要生產管道泵,自吸泵,排污泵等產品